First 50 rounds at the range today.. beside shooting too high and a little bit to the left, i noticed a few time where after loading, the round did not aligned correctly and i had to open and close the lever a second time for the round to get in the barrel.
Beside that it was great fun until i finish the first box of 50 rounds of 44 magnum. Exactly after the 50th round, the lever refused to close .. then this 2 pieces comes out and fall on the floor..
Another angle of the other thing beside the spring
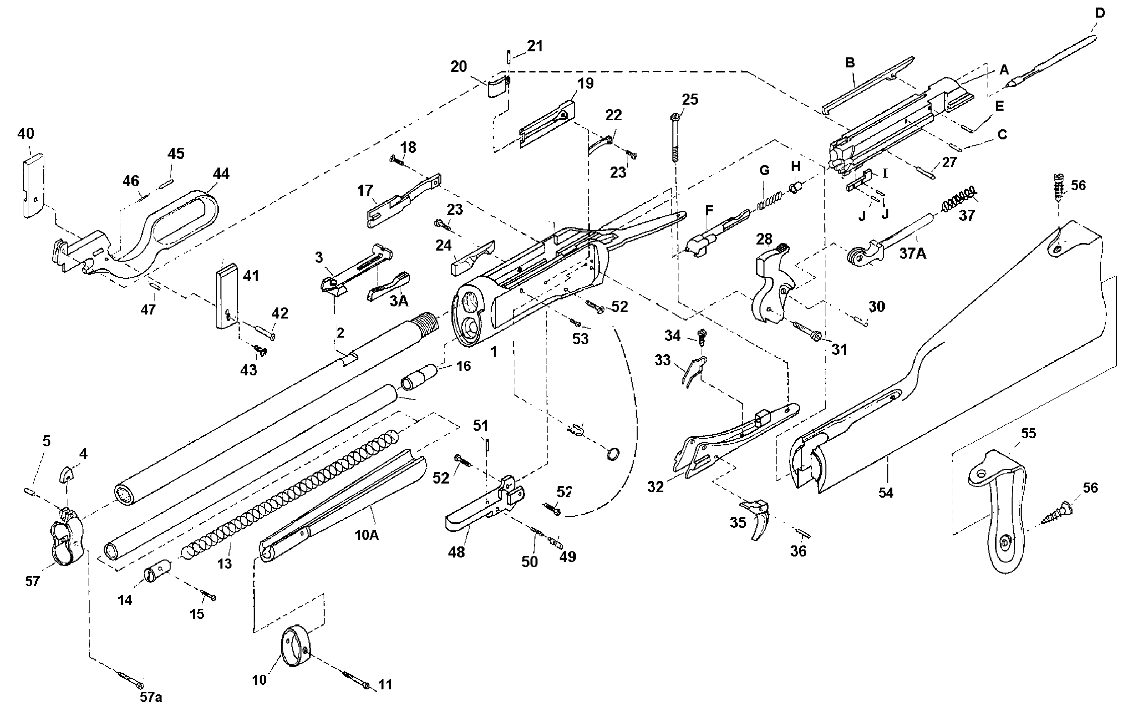
Pic of the inside of the Ranch Hand, where i think the pieces were..
What do you think happen ? Gunsmith, refund ? did i get a lemon or ...
It was bought from SFRC .. a sponsor here.. not to trash them but as information on how they could deal with situation like this.. refunds or whatever..
If you have any input, you are more than welcome to post here.
Thank you
Pissed New owner
Beside that it was great fun until i finish the first box of 50 rounds of 44 magnum. Exactly after the 50th round, the lever refused to close .. then this 2 pieces comes out and fall on the floor..
Another angle of the other thing beside the spring
Pic of the inside of the Ranch Hand, where i think the pieces were..
What do you think happen ? Gunsmith, refund ? did i get a lemon or ...
It was bought from SFRC .. a sponsor here.. not to trash them but as information on how they could deal with situation like this.. refunds or whatever..
If you have any input, you are more than welcome to post here.
Thank you
Pissed New owner


















































